地 址:上海市金山區興塔工業區
咨詢電話:021-57362601
圖文傳真:021-33250343
電子郵箱:hanyuev@126.com
網 址:http://m.shanghaijq.com
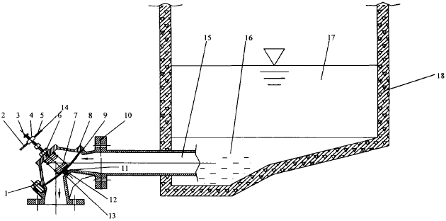
在供排水系統中, 一般都設有水池, 如沉淀池、供水池和蓄水池等,水中的泥沙會沉在水池的底部。隨時間的推移, 沉積的泥沙不斷增加,將影響水池的存水量,及供排水系統的有效運行。為了排除沉積泥沙,一般在池底部裝上排泥閥,在泥沙於積到一定程度時,開閥排泥。流體動力角式隔膜排泥閥就是其中一種,流體動力角式隔膜排泥閥裝在與水池底部相連通的管子上(圖1)。
1、12.螺栓2、5、6、14.管接頭3.調節柄4.換向閥7.彈簧8.閥蓋9.隔膜
10.閥體11.密封座13.支座14.管接頭15.排泥管16.沉淀物17.水體 18 沉淀池
圖1 流體動力角式隔膜排泥閥應用
當不需排泥時, 三通閥中有壓力流體與驅動腔相通,在流體壓力和彈簧壓力下,隔膜與閥體上凸臺密封副接觸,切斷閥體進出口通路,此時三通換向閥與大氣相通的管子處于關閉狀態。當需要排泥時,調整三通換向閥開關,將有壓流體與驅動腔隔斷,而使驅動腔與大氣相通,此時閥體進口處的隔膜在池子內蓄水的壓力將大于大氣壓力,這樣隔膜在驅動腔和閥體進口處兩側壓力差作用下壓縮彈簧,隔膜迅速與閥體凸臺密封副分開,閥體進口與出口形成通道源源不斷地排走池子底部泥沙水混合物。當泥沙排除后,調整三通換向閥開關,將驅動腔與大氣隔斷,而驅動腔與有壓流體接通,此時驅動腔內壓力將大于閥體內泥沙水混合物的壓力,隔膜將迅速運動,直到與閥體上凸臺密封面貼緊隔斷閥體進出口通道,使排泥閥處于關閉狀態。
我們主要生產:排氣閥|排泥閥|水力控制閥|倒流防止器|防污隔斷閥|排污閥|管道過濾器Copyright ? 2008-2023 上海汗越閥門有限公司版權所有?? 滬ICP備16021408號-1
地 址:上海市金山區興塔工業區??手 機:13816357694??電 話:021-57362601??傳 真:021-33250343